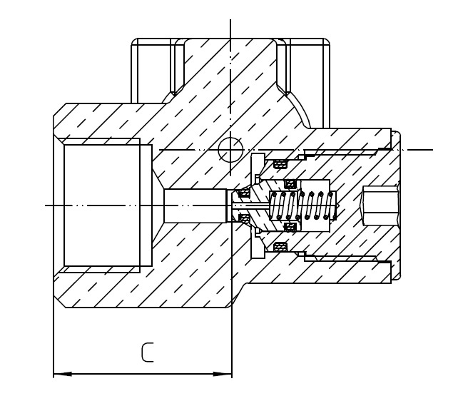
Valvola Residuale mod. BRIXIA 2.0 N2
Valvola con dispositivo residuale con funzione di anti-ritorno in ottone per bombole alta pressione di Azoto. La valvola è marcata T-PED ped in accordo alle procedure della direttiva 2010/35/UE. Vedi di più...
Valvola con dispositivo residuale con funzione di anti-ritorno in ottone per bombole alta pressione di Azoto. La valvola è marcata T-PED ped in accordo alle procedure della direttiva 2010/35/UE.
Specifiche Standard
Pressione di lavoro massima: PS max 230 Bar
Temperatura di esercizio: -35°c/+60°c
Diametro di passaggio: 4 mm
Connessioni attacco bombola: UNI EN ISO 11363
Connessioni uscita: 5-UNI 11144
Pressione residua: da 2-5 bar
Collaudo singolo
Confezioni da 25Pz.
Valvola Res. Certificata UNI EN ISO 15996
Opzioni
A richiesta con attacco NF/BS/DIN
Adattatori di ricarica in accordo ai standard UNI/NF/BS/DIN
Per visualizzare il video, è necessario accettare la nostra Cookie Policy. Se il player non appare, clicca sul link qui sotto.
Tabella Connessioni Bombole
Italia
| Gas | Simboli | Dimensione | Rif. Norma | Tipo |
|---|---|---|---|---|
| OSSIGENO | O2 | W 21,7 x 1/14” | UNI 11144 NR 2 | B |
| AZOTO | N2 | W 21,7 x 1/14” | UNI 11144 NR 5 | A |
| ANIDRIDE CARBONICA | CO2 | W 21,7 x 1/14” | UNI 11144 NR 2 | B |
| ARGON | Ar | W 24,5 x 1/14” | UNI 11144 NR 8 | A |
| ELIO | He | W 24,5 x 1/14” | UNI 11144 NR 8 | A |
| ARIA | Air | W 30 x 1/14” | UNI 11144 NR 6 | B |
| PROTOSSIDO DI AZOTO | N2O | G 3/8” A | UNI 11144 NR 9 | B |
| IDROGENO | H2 | W 20 x 1/14” LH | UNI 11144 NR 1H | B |
| ACETILENE | C2H2 | Ø 20 x Ø 10 mm G 5/8” LH | UNI 11144 NR 7S NF E 29-658 | C/A |
| G.P.L. | C3H8 | W 20 x1/14” LH | UNI 11144 NR 1H | B |
| METANO | CH2 | W 20 x 1/14” LH | UNI 11144 NR 1H | B |
| AMMONIACA | NH3 | W 30 x1/14” LH | UNI 11144 NR 3 | B |
Spagna
| Gas | Simboli | Dimensione | Rif. Norma | Tipo |
|---|---|---|---|---|
| OSSIGENO | O2 | W 22,91 X 14 DERECHA (R5/8”) | UNE TIPO F | A |
| AZOTO | N2 | M 21,7 X 1,814 DERECHA | UNE TIPO C | B |
| ANIDRIDE CARBONICA | CO2 | M 21,7 X 1,814 DERECHA | UNE TIPO C | B |
| ARGON | Ar | M 21,7 X 1,814 DERECHA | UNE TIPO C | B |
| ELIO | He | M 21,7 X 1,814 DERECHA | UNE TIPO C | B |
| ARIA | Air | M 30 X 1,75 DERECHA | UNE TIPO B | B |
| PROTOSSIDO DI AZOTO | N2O | W16,66-1/19” (R3/8”) DERECHA | UNE TIPO U | A |
| IDROGENO | H2 | M 21,7 X 1,814 IZQUIERDA | UNE TIPO E | B |
| ACETILENE | C2H2 | W 22,91 - 14 LH (R5/8”) IZQUIERDA W26,44 - 14 (R3/4”) DERECHA |
UNE TIPO H | H |
| G.P.L. | C3H8 | M 21,7 X 1,814 IZQUIERDA | UNE TIPO E | A |
| METANO | CH2 | M 21,7 X 1,814 IZQUIERDA | UNE TIPO E | B |
| AMMONIACA | NH3 |
Francia
| Gas | Simboli | Dimensione | Rif. Norma | Tipo |
|---|---|---|---|---|
| OSSIGENO | O2 | Ø 22,91 X 1,814 | NF E 29-650/B | A |
| AZOTO | N2 | Ø 21,7 X 1,814 | NF E 29-650/C | B |
| ANIDRIDE CARBONICA | CO2 | Ø 21,7 X 1,814 | NF E 29-650/C | B |
| ARGON | Ar | Ø 21,7 X 1,814 | NF E 29-650/C | B |
| ELIO | He | Ø 21,7 X 1,814 | NF E 29-650/C | B |
| ARIA | Air | Ø 30 X 1,75 | NF E 29-650/C | B |
| PROTOSSIDO DI AZOTO | N2O | Ø 26 X1,5 | NF E 29-650/G | A |
| IDROGENO | H2 | Ø 21,7 X 1,814 LH | NF E 29-650/E | B |
| ACETILENE | C2H2 | Ø 21 X Ø 10 mm Ø 22,91 x 1,814LH |
NF E 29-650/A NF E 29-650/H |
C/A |
| G.P.L. | C3H8 | Ø 21,7 X 1,814 LH | NF E 29-650/E | B |
| METANO | CH2 | Ø 21,7 X 1,814 LH | NF E 29-650/E | B |
| AMMONIACA | NH3 | Ø 21,7 X 1,814 | NF E 29-650/C | B |
Gran Bretagna
| Gas | Simboli | Dimensione | Rif. Norma | Tipo |
|---|---|---|---|---|
| OSSIGENO | O2 | G 5/8” | BS 341 nr.3 | A |
| AZOTO | N2 | G 5/8” | BS 341 nr.3 | A |
| ANIDRIDE CARBONICA | CO2 | 0,860” x 14 TPI | BS 341 nr.8 | B |
| ARGON | Ar | G 5/8” | BS 341 nr.3 | A |
| ELIO | He | G 5/8” | BS 341 nr.3 | A |
| ARIA | Air | G 5/8” | BS 341 nr.3 | A |
| PROTOSSIDO DI AZOTO | N2O | 11/16” X 20 TPI | BS 341 nr.13 | B |
| IDROGENO | H2 | G 5/8” LH | BS 341 nr.2 | A |
| ACETILENE | C2H2 | G 5/8” LH | BS 341 nr.2 | A |
| G.P.L. | C3H8 | G 5/8” LH | BS 341 nr.4 | A |
| METANO | CH2 | G 5/8” LH | BS 341 nr.2 | A |
| AMMONIACA | NH3 | G 1/2"A | BS 341 nr.10 | B |
Germania
| Gas | Simboli | Dimensione | Rif. Norma | Tipo |
|---|---|---|---|---|
| OSSIGENO | O2 | G 3/4” | DIN 477 nr.9 | A |
| AZOTO | N2 | W 24,32 1/14” | DIN 477 nr.10 | B |
| ANIDRIDE CARBONICA | CO2 | W 21,8 1/14” | DIN 477 nr.6 | B |
| ARGON | Ar | W 21,8 1/14” | DIN 477 nr.6 | B |
| ELIO | He | W 21,8 1/14” | DIN 477 nr.6 | B |
| ARIA | Air | G 5/8" | DIN 477 nr.13 | A |
| PROTOSSIDO DI AZOTO | N2O | G 3/4” | DIN 477 nr.11 | B |
| IDROGENO | H2 | W 21,8 1/14” LH | DIN 477 nr.1 | B |
| ACETILENE | C2H2 | Ø 15,3 X Ø 7,5 | DIN 477 nr.3 | A |
| G.P.L. | C3H8 | W 21,8 1/14” LH | DIN 477 nr.1 | A |
| METANO | CH2 | W 21,8 1/14” LH | DIN 477 nr.1 | B |
| AMMONIACA | NH3 | W 21,8 1/14” | DIN 477 nr.6 | B |
USA
| Gas | Simboli | Dimensione | Rif. Norma | Tipo |
|---|---|---|---|---|
| OSSIGENO | O2 | .903” 14 NGO RH EXT | CGA 540 | B |
| AZOTO | N2 | .965” 14 NGO RH EXT | CGA 580 | A |
| ANIDRIDE CARBONICA | CO2 | .825” 14 NGO RH EXT | CGA 320 | B |
| ARGON | Ar | .965” 14 NGO RH EXT | CGA 580 | A |
| ELIO | He | .965” 14 NGO RH EXT | CGA 580 | A |
| ARIA | Air | .825” 14 NGO RH EXT | CGA 346 | B |
| PROTOSSIDO DI AZOTO | N2O | .825” 14 NGO RH EXT | CGA 326 | B |
| IDROGENO | H2 | .903” 14 NGO RH EXT | CGA 540 | B |
| ACETILENE | C2H2 | .885” 14 NGO LH INT | CGA 510 | A |
| G.P.L. | C3H8 | .885” 14 NGO LH INT | CGA 510 | A |
| METANO | CH2 | .825” 14 NGO RH EXT | CGA 320 | B |
| AMMONIACA | NH3 | 3/8-18 NGT RH INT | CGA 240 | A |
Prodotti Correlati
Espandi le tue opzioni di scelta
Hai bisogno di informazioni su questo Prodotto?
Entra in contatto con lo staff
Se non hai trovato il prodotto o il servizio che desideri o se hai bisogno di un progetto studiato su misura contattaci subito! Saremo felici di aiutarti.
Contattaci












